Tipo de pagamento:L/C,T/T,D/P,D/A,Paypal
Incoterm:FOB,CFR,CIF
Quantidade de pedido mínimo:1 Piece/Pieces
transporte:Ocean,Land,Air
$0.1-1 /Piece/Pieces
marca: HY ou OEM
Serviço De Garantia: 3 anos
Lugar De Origem: China
Pressure: Low Pressure
Padrão: Standard
Inscrição: Uso Industrial
Material: UPVC
Medium Temperature: Normal Temperature
transporte: Ocean,Land,Air
Tipo de pagamento: L/C,T/T,D/P,D/A,Paypal
Incoterm: FOB,CFR,CIF


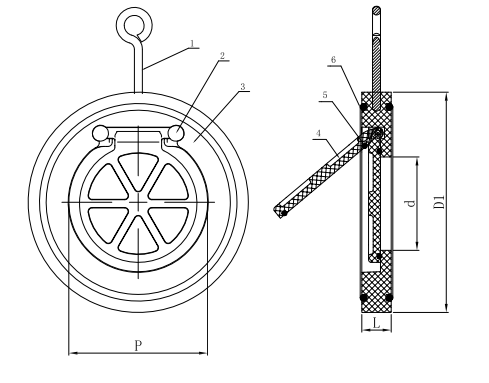
| UPVC Wafer Check Valve Parts&Material | ||
| No. | Parts | Materials |
| 1 | rings | stainless steel |
| 2 | Screw | UPVC |
| 3 | Body | UPVC |
| 4 | Disc | UPVC |
| 5 | InnerO-ring | EPDM,FPM |
| 6 | Outside O-ring | EPDM,FPM |
| UPVC Wafer Check Valve Dimensions Table | ||||||
| DN | d | D1 | P | L | (Mpa) working pressure |
(Mpa) Minimum back pressure |
| DN40 | 23 | 82 | 36 | 18 | 1.0 | 0.05 |
| DN50 | 27 | 108 | 44 | 21 | 1.0 | 0.05 |
| DN65 | 40 | 127 | 58 | 22 | 1.0 | 0.05 |
| DN80 | 54 | 142 | 70 | 23 | 1.0 | 0.05 |
| DN100 | 70 | 165 | 89 | 25 | 1.0 | 0.05 |
| DN125 | 92 | 192 | 115 | 28 | 1.0 | 0.05 |
| DN150 | 112 | 217 | 131 | 30 | 1.0 | 0.05 |
| DN200 | 150 | 270 | 179 | 34 | 0.6 | 0.05 |
| DN250 | 190 | 328 | 230 | 39 | 0.6 | 0.05 |
| DN300 | 216 | 378 | 260 | 44 | 0.6 | 0.05 |



